API609 Butterfly Valve
Fire Protection Grooved End API609 Butterfly Valve
Fire Protection Grooved End API609 Butterfly Valve
Quick Review
Body Construction: Grooved End
Face to face: MSS SP-67
Groove acc.to: AWWA C606
Top flange: EN ISO5211
Max Working pressure: PN16
Temperature: -20℃ to 140 ℃
Operation: Lever, Hand wheel, Electric
Actuator, Pneumatic Actuator
Coating: Epoxy Coating
Disc: Bronze / Ductile iron rubber
volcanized EPDM/NBR/Hypalon/Butyl
Tightness test: To EN12266-1:2003
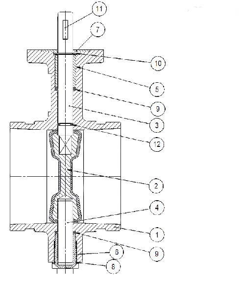
Material Construction

|
Item |
Description |
Material |
|
1 |
Body |
Ductile Iron |
|
Option Lining |
Stainless Steel |
|
|
2 |
Disc (vulcanized) |
As specified above |
|
Option Lining |
EPDM/ NBR |
|
|
3,4 |
Shaft |
SS316/ SS420/ Duplex |
|
4 |
Axle |
|
|
5,6 |
Bushing |
Brass/ Nylon 11 |
|
7 |
Washer |
Galvanized Steel |
|
8 |
Sealing Ring |
Fiber |
|
9 |
O-Rings |
NBR/ EPDM |
|
10 |
Circlip |
Steel Spring |
|
11 |
Woodruff Key/ Rectangular Key |
Steel |
